苹果要么正在疯狂地开发自己的汽车,要么已经完全放弃了这个项目。但我们确实知道,这家科技巨头一直在努力开发汽车技术,包括其已经非常受欢迎的CarPlay,以及其他新的、更酷炫的技术。最近,苹果向美国专利和商标局(USPTO)提交了一项有关增强现实功能挡风玻璃的有趣专利。
从专利文件中可以看出,尽管这个专利刚刚公开发布,但它已经在研发中有一段时间了。这项专利申请引用了追溯到2015年的各种之前的专利申请。很明显,苹果公司长期以来一直在追求汽车的增强现实应用。考虑到公司对CarPlay生态系统的高度重视,这并不令人意外。
增强现实,或AR,是指一系列可以在真实世界之上叠加数字图像的显示技术。一个简单的平视显示只是将信息投影到屏幕上,但增强现实显示能够识别物理现实,并创建与元素交互或覆盖它们的图形。一个简单的例子是导航系统显示一个浮动的箭头,指示驾驶员按照这个方向行驶。这个视频展示了梅赛德斯-奔驰如何在其最新型号中应用AR技术,不过这个技术只应用于导航开启时的信息娱乐屏幕,并不应用于整个挡风玻璃。
该专利表明,苹果的AR系统将依赖于各种传感器来收集关于周围环境的信息。这可能包括可见光摄像机、各种类型的红外摄像机,以及超声和基于光的扫描设备,用于构建汽车周围环境的三维图像。专利还提到地理定位设备和雷达设备是其技术的关键。
![]()
许多人都熟悉的Google Translate是一个增强现实应用程序。它可以在现实世界中的标志上叠加翻译后的文本,并在此过程中保持空间上下文。将这样的功能整合到汽车中对于在外国旅行的驾驶员来说可能是一个巨大的福音。
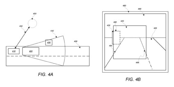
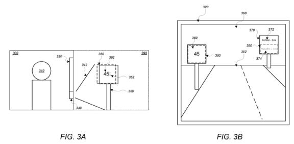
有了外部环境的三维模型,AR系统就可以叠加似乎存在于环境本身的数据,而不是在其之上。苹果引用了各种使用场景,例如叠加或高亮显示与相关信息的标志,或者当一个导航目的地被周围的建筑物或车辆遮挡时揭示它的轮廓。
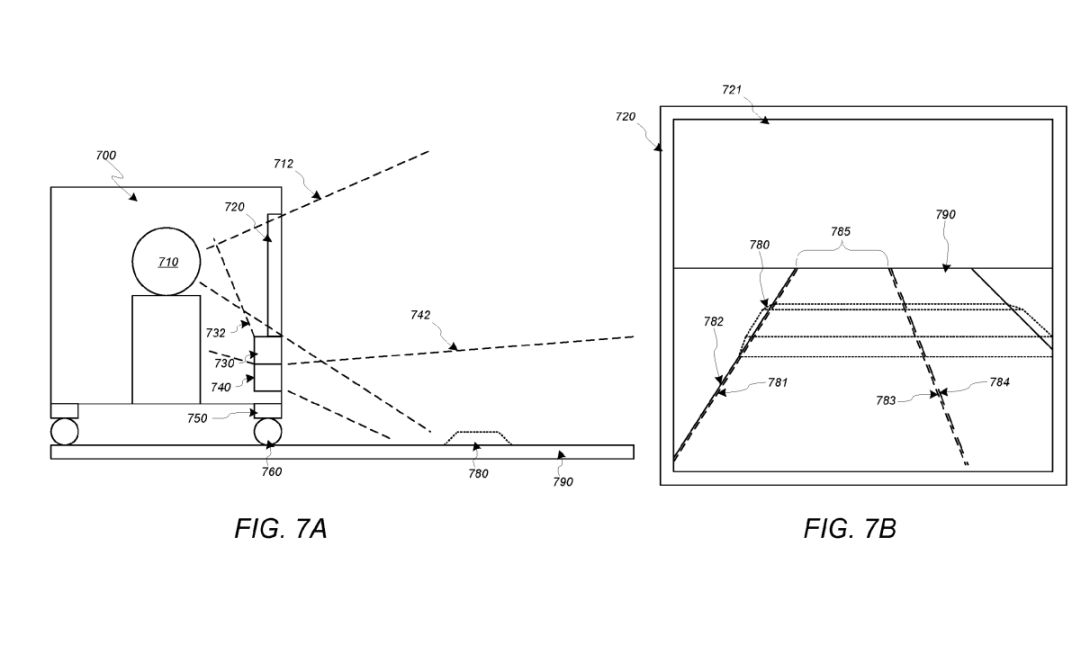
专利还探讨了更多创意的想法。专利中的一个示例建议,如果检测到驾驶员驾驶速度过快,AR系统可以在环境中显示模拟的减速带。这将鼓励驾驶员减速。为了完成这个效果,AR系统可以与汽车的主动悬挂系统合作,创造出经过减速带或隆隆声带的感觉。另一个概念涉及AR系统检测到某个区域有“儿童”,并使用这些信息来帮助叠加数据,指示这个区域可能是一个学校区域。
![]()
![]()
![]()
![]()
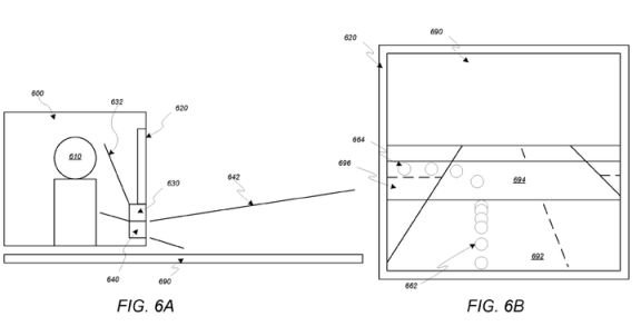
专利探讨了增强现实的各种用途。苹果的系统可以高亮显示标志(FIG.3)、被交通遮挡的建筑物(FIG.4)、显示导航路径(FIG.6)或者在前方的道路上模拟减速带(FIG.7)USPTO
但专利对这项技术在实践中如何工作的细节描述并不多。在挡风玻璃的底部投影一个小的平视显示是一回事,但将整个挡风玻璃变成一个质量上佳的AR显示则完全是另一回事。可以使用涉及投影或液晶显示器的各种技术,但在汽车上全面实施将是一个有一定技术含量的壮举。
随着汽车变得越来越智能,预计将出现技术竞赛。汽车界正在紧张地重新设想明天世界的用户界面,增强现实只是未来愿望清单上的一个功能。
更多游戏资讯请关注:电玩帮游戏资讯专区
电玩帮图文攻略 www.vgover.com
