20世纪初,西方打字机已成为办公与出版的利器,而汉字因数量庞大、结构复杂,深陷 无法适配现代技术 的质疑,甚至催生了 废除汉字 的极端论调。
彼时的中国内忧外患,文化传播的滞后更让民族发展雪上加霜。
![]()
林语堂作为语言学家深知,汉字不仅是语言符号,更是中华文化的灵魂,要是不能突破书写与传播的桎zhi梏gu,华夏文明或将在全球化浪潮中被边缘化。
这份知识分子的责任感,让他从20世纪30年代起,毅然踏上了中文打字机的研发之路,立志打造 人人可用不学而能之唯一华文打字机 。
![]()
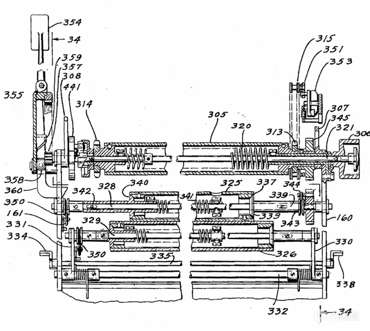
研发之路远比想象中艰难。林语堂并非机械工程师,却凭借对汉字结构的深刻理解与执着信念,自创了一套全新的汉字检索与输入逻辑。
他摒弃了传统活字 逐字查找 的思路,从20世纪初的 检字法问题 大讨论中汲取灵感,将汉字拆分为基本笔画与结构部件,创造性地设计出72键键盘系统。
![]()
这台被命名为 明快 的打字机,核心在于 两键检索加一键选择 的三键模式:打字员按下两个对应部件的按键,触发内部精密齿轮运转,机器中央的视窗便会显示最多8个候选汉字,再按下底部编号键即可完成打印。
这种 输入—检索—输出 的逻辑,与现代计算机输入法惊人契合,算是中文信息处理技术的雏形。

林语堂和林太乙
为了让设计落地,林语堂倾注了全部心血与财力。
他不惜变卖曼哈顿的房产,耗尽毕生稿酬,聘请纽约机械公司打造原型机,前后耗费约12万美元——在当时,这笔巨款足以让人实现财务自由。
1947年,当第一台明快打字机原型机问世时,林语堂与女儿林太乙小心翼翼地将它抱回家,。

林太乙后来回忆,即便这台机器让全家背负巨额债务,但其高效的输入体验仍让她感叹 。
熟练打字员每分钟可输入50个字,能处理9万个汉字,还兼容多语种,学者赵元任评价它“稍加学习便能熟悉,正是我们所需要的打字机”。
![]()
早期打字机,左英又中
命运却对这份执着开了残酷的玩笑。
1947年8月,林语堂在曼哈顿雷明顿公司举办演示会,原本有望吸引投资的场合,打字机却突发机械故障,按键失灵。
尽管工程师紧急修复后,机器后续三天的展示赢得了媒体关注,但这次失利彻底动摇了投资者的信心。
![]()
雪上加霜的是,单台机器造价高达7000美元,量产成本难以控制,再加上当时中国内战频发,后续朝鲜战争爆发导致中美关系恶化,投资者对中文市场前景充满疑虑,量产计划彻底搁浅。
1948年,他被迫将原型机与商业权利卖给莫根塔勒莱诺铸排机公司,仅换得微薄回报。
![]()
专利配图
![]()
这台凝聚了他三十年心血的婴儿,在20世纪50年代公司搬迁时神秘失踪,被学者墨磊宁在《中文打字机》一书中断言“大概率进了废品堆”。
林语堂的研发之路以破产告终,但他从未后悔,始终坚信自己的理念终将照亮汉字现代化的道路。

时光荏苒,半个多世纪后的2025年,这台失踪的原型机在纽约州一对夫妇的地下室中意外重现。
原来,莫根塔勒莱诺铸排机公司的机械师道格拉斯·阿瑟·荣在搬迁时,悄悄将机器带回家,后经家族传承保留至今。

最终,这台机器被斯坦福大学图书馆购藏。
明快打字机虽未能量产,却在中文技术史上留下了不可磨灭的印记。

小故事
有一天,父亲(林语堂)和我(林太乙)坐在一辆汽车里,父亲还在把玩一个指形键盘,得意地说:“我这个打字机的发明主要在利用上下形检字法的键盘,其他机械上的问题是不难解决的。”
我战战兢兢地问:“那么你假使只把汉字照上下形检字法分类,弄个指形键盘,像你手里拿的一样,不就可以向人推销吗?当时有没有制造模型的必要?”
他看了我一下,轻声说:“也许不造模型也可以推销,但是我忍不住,我一定要造一部打字机,使我可以真正的打字。”

更多游戏资讯请关注:电玩帮游戏资讯专区
电玩帮图文攻略 www.vgover.com
