在 CPU 缓存技术的赛道上,AMD的探索从未停止。2022 年 CES 大展上,AMD 推出搭载 3D 垂直缓存(3D V-Cache)技术的 Zen 3 架构 Ryzen 7 5800X3D 处理器,通过为每个 CCD 增加 64MB 7nm SRAM 缓存,将处理器 L3 缓存容量从32MB提升至 96MB,大三缓带来的性能一举超过了英特尔,让AMD的市场占比连年攀升。如今,AMD 并未止步于 L3缓存的堆叠,也将目光投向了距离 CPU 核心更近、响应速度更快的 L2 缓存。
![]()
AMD 在《平衡延迟堆叠缓存(Balanced Latency Stacked Cache)》的研究论文中,详细阐述了将 3D 堆叠技术延伸至 L2 缓存的创新构想,相关技术已在美国商标和专利局(USPTO)公示,专利号为 US20260003794A1。意味着 AMD 的 3D 堆叠技术将实现从 L3 到 L2 的跨越,为处理器性能带来更多的探索。
![]()
回顾 AMD 3D V-Cache 技术的演进历程,第一代产品采用了独特的设计思路:将 CCX(核心复合体)翻转方向,削去顶部 95% 的硅材料后,在上方安装 3D 垂直缓存芯片;到了第二代 3D V-Cache 技术,AMD 对缓存芯片进行优化升级,同时互换了 CCX 与 3D 垂直缓存芯片的位置,持续打磨技术细节。这次L2 缓存堆叠方案,在继承 3D V-Cache 核心原理的基础上进一步创新。
![]()
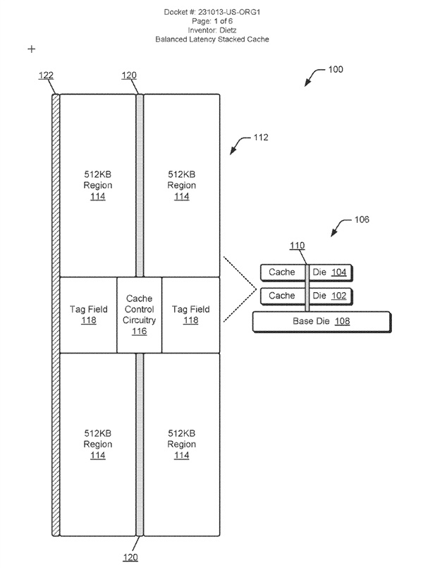
新方案采用多层堆叠结构设计,基础芯片负责连接计算模块与缓存模块,上方可根据需求叠加多层缓存。示例中表现出灵活的容量扩展方式:通过四组 512KB 区域的缓存模块组成 2MB 的 L2 缓存,若有更高需求,还能扩展至 4MB。专利附图中,这种堆叠结构呈现出多样化的组合形式,既有 L2 Die 与 L3 Die 交替堆叠的配置,也有集中式的 L2、L3 缓存堆叠布局,以基础芯片为底层支撑,构建高效的缓存体系。
这个方案沿用了硅通孔(TSV)技术,将 L2 与 L3 堆叠缓存连接至基础芯片和计算复合体,且 TSV 配置在堆叠缓存系统的中心垂直方向,配合缓存控制电路(CCC)精准调控数据的输入与输出,既延续了 3D V-Cache 技术的成熟优势,又针对 L2 缓存的特性进行了针对性优化,带来性能能效双提升。AMD 以平面 1MB 和 2MB L2 缓存配置作为参照,数据显示平面 1MB L2 缓存的典型延迟为 14 个周期,而采用堆叠设计的 1MB L2 缓存延迟仅为 12 个周期,堆叠 L2 缓存能实现容量的灵活扩展,也能达成优于传统平面设计的周期延迟,让数据从缓存返回的速度更快。更短的周期意味着更少的电力消耗,产生的热量也能减少,在提升性能的同时实现了能效的优化,形成 “高性能、低功耗、低发热” 的三重优势。
作为 CPU 架构中的关键组成部分,L2 缓存距离计算核心更近,其性能表现直接影响处理器的整体响应速度。AMD 将 3D 堆叠技术延伸至 L2 缓存,是对 CPU 缓存架构的一次重要革新,有望进一步拉近 AMD 在高端处理器市场的竞争力,为游戏玩家、专业创作者等用户带来更出色的使用体验。
以上是本篇文章全部内容,如果有什么缺失,欢迎评论区补充!
更多游戏资讯请关注:电玩帮游戏资讯专区
电玩帮图文攻略 www.vgover.com
