在2025年8月20日凌晨舉行的科隆遊戲展(Gamescom)開幕夜直播(Opening Night Live)活動中,中國遊戲開發商遊戲科學(Game Science)正式公佈了其《黑神話》IP下的全新作品——《黑神話:鍾馗》(Black Myth: Zhong Kui)。這一消息作爲壓軸內容亮相,瞬間點燃了全球玩家的熱情,引發了廣泛的熱議和期待。這款遊戲延續了前作的單機動作角色扮演(ARPG)風格,但轉向了全新的神話角色和敘事方向,標誌着遊戲科學在國產3A遊戲領域的進一步探索。
《黑神話:鍾馗》是遊戲科學繼《黑神話:悟空》之後的第二部作品,該系列以中國古代神話和民間傳說爲基礎,旨在打造獨特的東方幻想世界。前作《黑神話:悟空》於2024年8月20日發售後大獲成功,全球銷量突破2000萬份,並斬獲多項國際獎項,包括TGA年度遊戲提名。這次公佈恰逢前作發售一週年,遊戲科學選擇在Gamescom這一國際舞臺上亮相,顯然是爲了延續熱度並向全球玩家展示他們的野心。
![]()
公佈後不久,遊戲科學聯合創始人兼美術總監楊奇在社交媒體(主要是Weibo)上發佈了一篇長文,分享了自己的想法,並積極與網友互動。這篇長文被視爲對玩家關切的正式回應,楊奇謙虛地闡述了團隊的開發理念和未來規劃。
在長文中,楊奇承認《鍾馗》是基於前作成功後的新嘗試:“我們不想停留在舒適區,而是想探索更多中國神話的角落。鍾馗的故事能帶來全新的戰鬥感和敘事張力,但我們也知道大家還惦記着悟空。”他強調,團隊會並行推進多個項目,以保持創意活力,同時打磨協作基礎和擴充人手。
![]()
針對網友的DLC期待,楊奇直接回復:“收到,會搞的~說好了三部曲,退休前搞完。”這首次公開確認了《黑神話》系列的三部曲計劃,暗示除了《悟空》和《鍾馗》,還有第三部作品(此前有傳聞涉及“姜子牙”),並承諾會在退休前完成,緩解了粉絲的焦慮。
![]()
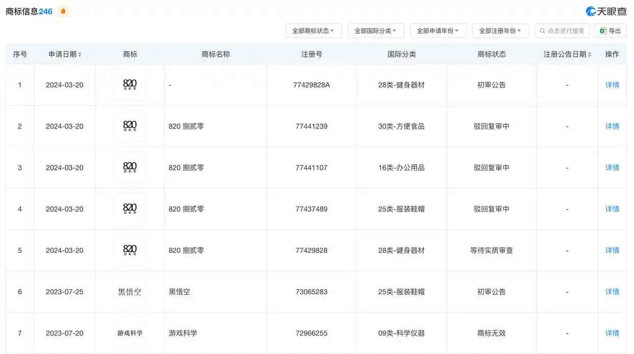
遊戲科學團隊的關聯公司爲深圳市遊科互動科技有限公司,早年申請註冊多枚“黑神話悟空”“黑悟空”“黑神話”“820 捌貳零”“黑神話·山海”“黑神話·大荒”等商標,商標狀態多爲已註冊,其中包括多枚“黑神話姜子牙”“黑神話鍾馗”商標。這或是《黑神話》系列的三部曲。
![]()
![]()
![]()
![]()
![]()
![]()
另一位博主稱讚遊戲科學敢於探索新題材的勇氣:“錦上添花的事兒先放放,繼續在探索新題材上奮勇向前,這份膽魄令人無比欽佩!永遠支持遊科的各位,加油。”楊奇則謙虛地回應:“膽魄是啥,那倒談不上啦… 對於一些成熟的單機團隊,兩個項目中前期交替並行,肯定是最健康的節奏,無論是從創意還是流程角度。不過,團隊協作的基本功還得再打紮實些,人手也得再多一些,我們加油…”
![]()
![]()
更多遊戲資訊請關註:電玩幫遊戲資訊專區
電玩幫圖文攻略 www.vgover.com
