索尼持续改进其PlayStation光谱超级分辨率技术(PSSR目前为PS5 Pro独占)已有一段时间。除与AMD的合作外,关于改进方向的传闻层出不穷,而该公司于2025年7月提交的一项新专利提供了线索。该专利已于2月4日正式公布,其中包含多幅关于"生成多帧超级分辨率的计算机实现方法"的示意图。
![]()
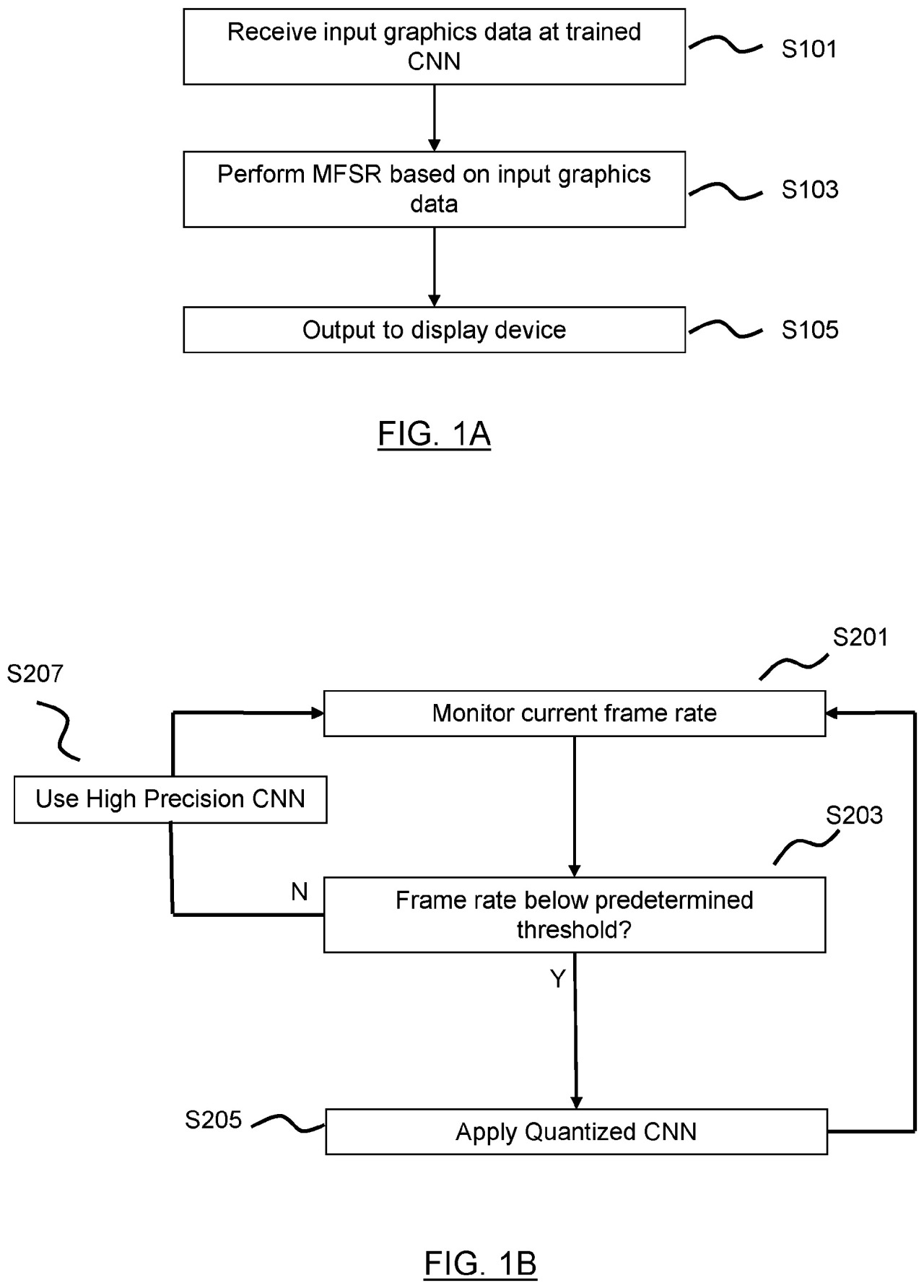
这项被称为MFSR的技术,利用经过训练的人工神经网络,将以游戏生成的图形数据作为输入,输出更高分辨率的图像。该技术还能监测游戏过程中主机的处理负载,并进行必要调整以确保更高质量的输出。
![]()
索尼承认,虽然MFSR技术已存在一段时间(如英伟达DLSS和AMD FSR),但在硬件负载处于高位时仍常面临问题。这可通过动态分辨率等概念解决,但动态分辨率自身也存在弊端,例如会增加处理负载并输出较低分辨率的图像。
![]()
"通过(例如动态地)改变执行多帧超级分辨率时所使用的权重和/或激活值的精度,本发明可基于监测到的游戏过程中处理单元使用情况,优化生成MFSR图形输出时的内存访问和计算时间。例如,如果处理单元使用率增加,则可响应检测到的负载上升而降低权重和/或激活值的精度,从而减少MFSR图形输出的计算时间。"
该专利的描述与去年12月关于PSSR 2并非小幅更新的传闻相符。该报告提及了基于更新算法的MFSR2(多帧超级分辨率2)。该技术有望减少对部分输入数据的需求,从而降低处理负载和内存占用。"这绝非'0.5'级别的小幅升级,"一位匿名开发者表示。
同一位开发者还指出,PSSR、FSR 3和FSR 4被分别提及,表明AMD和索尼将这些技术视为独立个体。虽然许多基于FSR 4的改进计划在PS5 Pro上实现,但PSSR 2本身似乎计划在之后独立发布。
![]()
AMD和索尼此前曾讨论过他们共同研发的新技术。关于FSR和PSSR,PS5和PS5 Pro首席架构师马克·塞尔尼指出,在不过度增加硬件负载的情况下实施新系统是最大挑战。
"挑战在于我们如何实施这些系统,"塞尔尼解释道,"FSR和PSSR等技术中的神经网络对GPU要求极高。它们既计算密集,又需要快速访问大量内存。GPU的特性在这方面对我们形成了制约。"
更多游戏资讯请关注:电玩帮游戏资讯专区
电玩帮图文攻略 www.vgover.com
