索尼已获得一项配备触控屏幕的特殊手柄美国专利,该设计允许玩家自主定义按键位置。这项专利虽早在2013年2月就已提交,但才于上周正式获批,其名称为"游戏控制器设计及方法"。
![]()
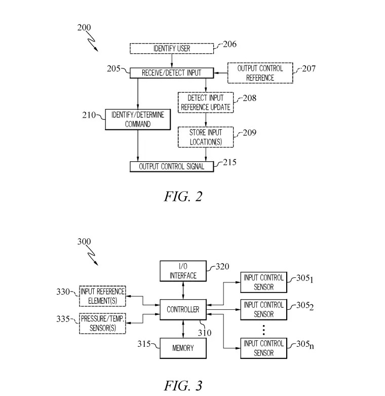
根据专利说明文件及附图,该手柄顶部大部分区域将由一块大型触控屏覆盖,传统物理按键位置将取而代之。其核心设计理念在于,玩家可依据个人偏好、无障碍需求或特定游戏要求,自定义方向键、摇杆及动作按键在手柄上的布局位置。
![]()
从披露信息看,玩家还能调整按键尺寸,甚至在某些游戏中完全移除部分按键。理论上这意味着当玩家运行简单平台游戏时,可将所有按键替换为单个大型跳跃键;若游戏仅需方向键或左摇杆,则可选择移除其中一个并放大另一个组件。
![]()
专利说明书指出:"传统控制器往往遵循相似的界面布局——方向键位于手柄一侧,动作按键位于另一侧。现有设计的缺陷之一在于固定结构,例如固定布局对某些用户可能过大或过小,也可能不符合人体工学舒适度。制造商通常为避免成本增加而不会轻易改变布局或手柄尺寸,导致控制器按键配置难以适应所有玩家手型尺寸。"
![]()
"市场亟需能实现多种配置形态,且无需定制化生产或调整手柄尺寸就能适配不同手型的游戏控制器。"专利文件强调,若玩家认为某种控制布局不够舒适,可通过移动按键位置来匹配手部自然姿态。
"传统控制器的另一局限在于输入控制的固定性。例如控制器仅能容纳方向键与摇杆,且各元件通常分布在相异区域。物理控制元件的尺寸限制了游戏控制设计,同时元件集成也会增加控制器体积。因此业界对游戏控制器的改进与革新存在明确需求。"
该专利设计可能面临的问题令人联想起1990年代面向8位/16位主机推出的第三方控制器Turbo Touch 360。该产品曾用触摸板替代方向键以减轻玩家拇指负担,但导致玩家拇指自然"放置"在触控面板时容易引发角色误操作。
![]()
Turbo Touch 360
索尼在专利中提到,触控屏幕将配备压力传感器与热传感器以"检测输入表面状态"。目前尚不清楚这是指简单的开关传感器还是具备灵敏度分级的传感器,但若是后者,或可分辨拇指放置与按压之间的差异。
需要强调的是,申请并获取专利并不必然意味着该设计将成为实际产品。
更多游戏资讯请关注:电玩帮游戏资讯专区
电玩帮图文攻略 www.vgover.com
