前言
我之前写过一篇关于如何做出行攻略订机票酒店火车票的文章,感兴趣的小伙伴可以去看一下【🎒个人旅行规划指南:如何轻松购票、订酒店和规划路线】
![]()
今天我是接着上一期里面我说到的护照我来今天给大家说说怎么办理护照,虽然我们的红本本护照免签国家不算多,但像新加坡、马来西亚、泰国、塞尔维亚、阿联酋等都可以凭护照免签或落地签入境。比如周边的新加坡、济州岛、坐邮轮去日本等都能用上,非常实用。
在办理护照的同时也强烈建议把港澳通行证也办理了,在取号机上你还会看到‘往来台湾通行证’这个选项,不过目前大陆居民持该证无法单独赴台,需要额外的‘入台证’,而且目前基本暂停个人游,所以一般人办了也用不上。
那么现在开始说我们接下来要办理的护照和港澳通行证,很多人一脸懵——预约排队、材料不齐、流程复杂。今天我整理了最全、最实用的办理攻略,并且我以我亲身办理过的经历来带你一步步轻松搞定护照和港澳通行证。
1. 办理条件及材料
我相信这边应该至少都是16岁之上了吧,那我就直接不说小于16岁的小伙伴们怎么办了,默认大家都是已满16周岁了,第二,如果你是事业编,公务员,或者说你现在单位严格管控你的出入境,那么你就别找麻烦了,去佳木斯玩一下也像去了趟国外的
这个我深有感触,就是我女朋友因为是岸上的人所以上次我以为她和我一样办理非常方便,结果打电话去出入境管理局一问才知道需要单位发函
这里我贴一份需要的材料清单,我以我们这的浙里办的清单给大家看,最清晰按照这个准备就可以了
![]()
这里有两点要说明一下,就是第一点照片和第三点的表格你不需要带,拍照在现场就可以拍,单子是在你选择办理业务的自助机上填好信息就可以打出来的,身份证一定要带去噢
2. 办理渠道
窗口办理:你可以直接在网上查询你们当地的出入境管理处,在人不多的情况下直接可以办理,现场取号办理
网上预约:如果你想保险起见,可以选择在网上预约之后,在你预约时间内去线下办理
先在微信搜索“12367”然后进入后选择“中国公民服务”,接下来选择第一个“现场办证预约”,输入你的信息然后刷脸
接下来我们已经进入到了选择你要办理的证件的环节了,选择你要办理的证件,然后下一步就是选择一个离你最近的一个办理网点,选择一个没约满的时间,最后就是填写你要办理的基本信息既可以,然后我们就预约成功了,到时候去线下即可
![]()
![]()
3. 办理流程
我以我这上次去办理的出入境管理处的网点为例吧
1.进入后会有一个警察上来问你要办什么,然后会引导你到自助机上取号,并且去教你在自助机上填写资料
我印象中就就问了我的工作的性质还有我办理护照的目的,我当时填写的就是公司职员还有我当时填写的是‘去泰国旅游’,不过近期有些地方窗口可能会提醒你更换为其他旅游目的地,大家写‘其他目的地’即可。
2.接下来就是填写完信息就是要去拍照了,我们这边的这个网点没有自助拍照机,所以我们每个人排队人工,建议穿一件带领子的衣服去,和拍身份证照片一样,记得把眼镜摘下来
3.拍完照片接下来就去取一个号码排队,等到叫到你的号码的时候你就可以去柜台办理手续了,接下来就是签字,还有按手印,签字一定要签好看,我也是第一次办理,不知道,写的和平时一样,等出来才想起来这个签字要跟着我十年,最后就是缴费了,护照是120元
![]()
港澳通行证
办理的时候请和护照一起办理这样可以省去再跑一趟的麻烦,材料和办理护照一样,拍照的时候你的照片也会被用到通行证上面,另外注意一点,一定要办签注!一定要办签注!一定要办签注!
不要为了省那么几十块钱签注不办理,想着去了口岸才发现没签注,找自助机办,首次办理港澳通行证时,一定记得同时办理签注。如果只办了证件没签注,是无法通关的。首次签注需人工柜台办理,后续可在自助机或小程序续签。
1. 所需材料
直接参考护照,办都办了直接一起就好
2. 办理渠道
也参考护照,流程差不多,无非在自助机上多勾一个通行证,打出来的单子是同一张单子
3. 办理流程
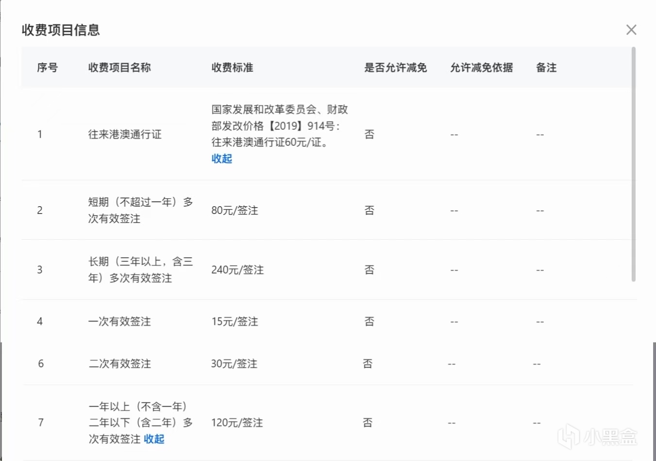
直接参考护照,再你给护照交钱的时候,你也会收到这个的缴费,说到缴费,我给大家看一下收费标准,按照需求大家选择自己需要的签注,一般除了广东的以外,大家最常见的还是办理香港“一年一次签注”或者“一年两次签注”,澳门选择“一年一次签注”,外加证件费合计就是60+30+15=105元(我选择香港的“一年两次签注”,澳门“一年一次签注”)
![]()
注意事项
完成办理之后会让你选择是EMS邮寄还是自己去网点取,邮寄需要支付邮费,自取可以在小程序上查看进度,并且回执上也写明取件时间,我是选择自取,因为离单位不远,下午下班前提前出来,在很大的一个自助机上刷身份证取件
一如果你是邮寄的话般7–10个工作日就能拿到护照或通行证
总结
提前准备材料、提前预约,是最快拿到证件的关键。按流程一步步走,护照和港澳通行证很快就能到手,办理“台湾通行证”也是如此
另外有了护照不代表你就可以去世界所有地方了噢,红本本办理并不难,而你办理签证VISA才是你走向世界的第一步,最后我放出现在对我国公民免签的国家,需要大家自行查看,最后也给大家一个能查询免签落地签的网站【https://visaindex.com/】
![]()
更多游戏资讯请关注:电玩帮游戏资讯专区
电玩帮图文攻略 www.vgover.com
