快科技12月12日消息,雖然摺疊屏iPhone遲遲沒有問世,但其實蘋果一直都在開發相關技術,這已經是行業公開的祕密。
近日,蘋果獲得了一項摺疊屏鉸鏈設計專利,巧妙地使用指狀物和月牙槽設計,帶來更靈活的摺疊效果,並提升耐用性。
![]()
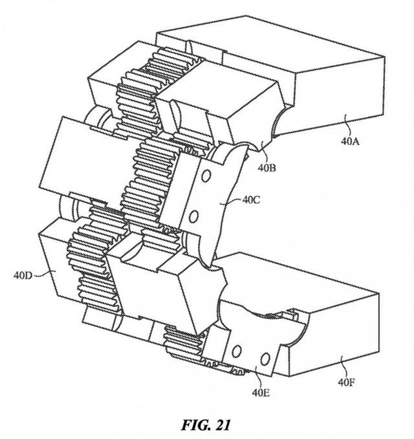
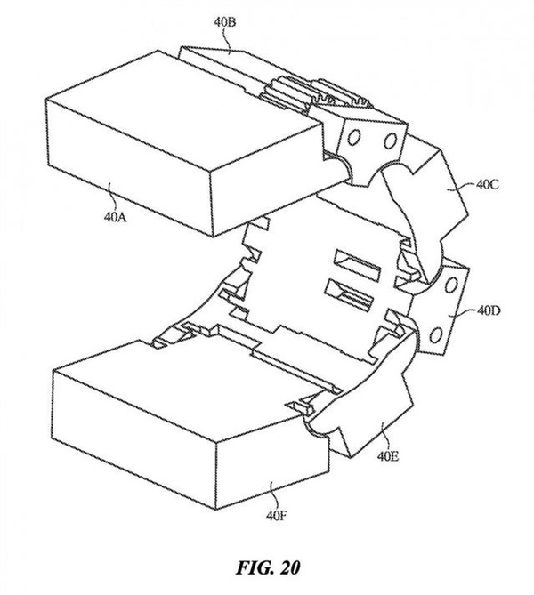
該專利描述了一種由相互連接的指狀物和摩擦離合器組成的鉸鏈結構,形成月牙形槽,讓每個環節實現相對旋轉,並將旋轉軸移至環節外部,實現更靈活的摺疊。
這種設計不僅提升了摺疊設備的耐用性,還增強了其靈活性。
![]()
鏈節上設有新月形槽,用於容納銷釘,當設備摺疊時,銷釘沿着新月形槽滑動,確保相鄰鏈節圍繞位於鉸鏈外部且在柔性顯示面板內的旋轉軸相對旋轉。
此外,專利還描述了一種殼體旋轉同步機構,該機構使用一組齒輪連接設備的兩個外殼部分,確保摺疊過程的平滑和穩定。
![]()
據悉,這項專利不僅可用於iPhone,還可以應用在iPad、Mac和Apple Watch等設備上。
根據古爾曼等權威爆料人的消息,蘋果最早會在2026年推出摺疊屏iPhone,屆時有望用上專利中的部分技術。
![]()
![]()
來源:快科技-手機頻道
更多遊戲資訊請關註:電玩幫遊戲資訊專區
電玩幫圖文攻略 www.vgover.com
