蘋果公司已研究了一款MacBook鍵盤,該鍵盤設計了一個可拆卸的鍵,可用作高精度鼠標,這一設計已獲得新的專利批准。
![]()
根據AppleInsider的報道,這項專利名爲“可部署鍵鼠標”。蘋果於2021年首次提交了這一專利申請,並今日獲得美國專利及商標局的正式授權。
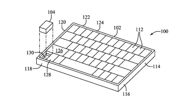
這項專利描述了一個外觀傳統的MacBook剪刀結構鍵盤,其中配備了一個隱藏的可拆卸鍵。該鍵設計用於指針定位,並內置了位置傳感器。蘋果將此係統描述爲爲計算機輸入提供“舒適、便攜、精確的指針輸入”。
文件中指出,如圖形設計、計算機輔助設計和建模,以及編輯大型和複雜文件這些精細任務,使用手持鼠標往往比觸控板更爲合適。蘋果認爲,隨身攜帶一個外置鼠標既麻煩,又在計算機已具備內置指向設備的情況下顯得多餘。
蘋果認爲,這種可拆卸鍵能夠解決上述問題。在某些設計中,該鍵在未被使用時可以正常嵌入鍵盤,並配備了一個小型內置電池。
![]()
儘管專利提交併不直接反映蘋果的即將推出的產品計劃,但它們確實展示了公司的研發方向。雖然可拆卸鍵聽起來是一個相當新奇的MacBook設計概念,蘋果對此明顯非常感興趣,足以爲其申請專利。與Touch Bar等獨特功能相比,它可能更爲低調,但對於追求極致便攜性的專業用戶來說,這樣的設計有助於提供精準的輸入體驗。
更多遊戲資訊請關註:電玩幫遊戲資訊專區
電玩幫圖文攻略 www.vgover.com
