索尼互动娱乐已提交一项专利,详细介绍了名为"AI幽灵"的新型游戏辅助系统。该系统旨在通过基于大量游戏数据训练的人工智能,帮助PlayStation玩家推进游戏进程。
![]()
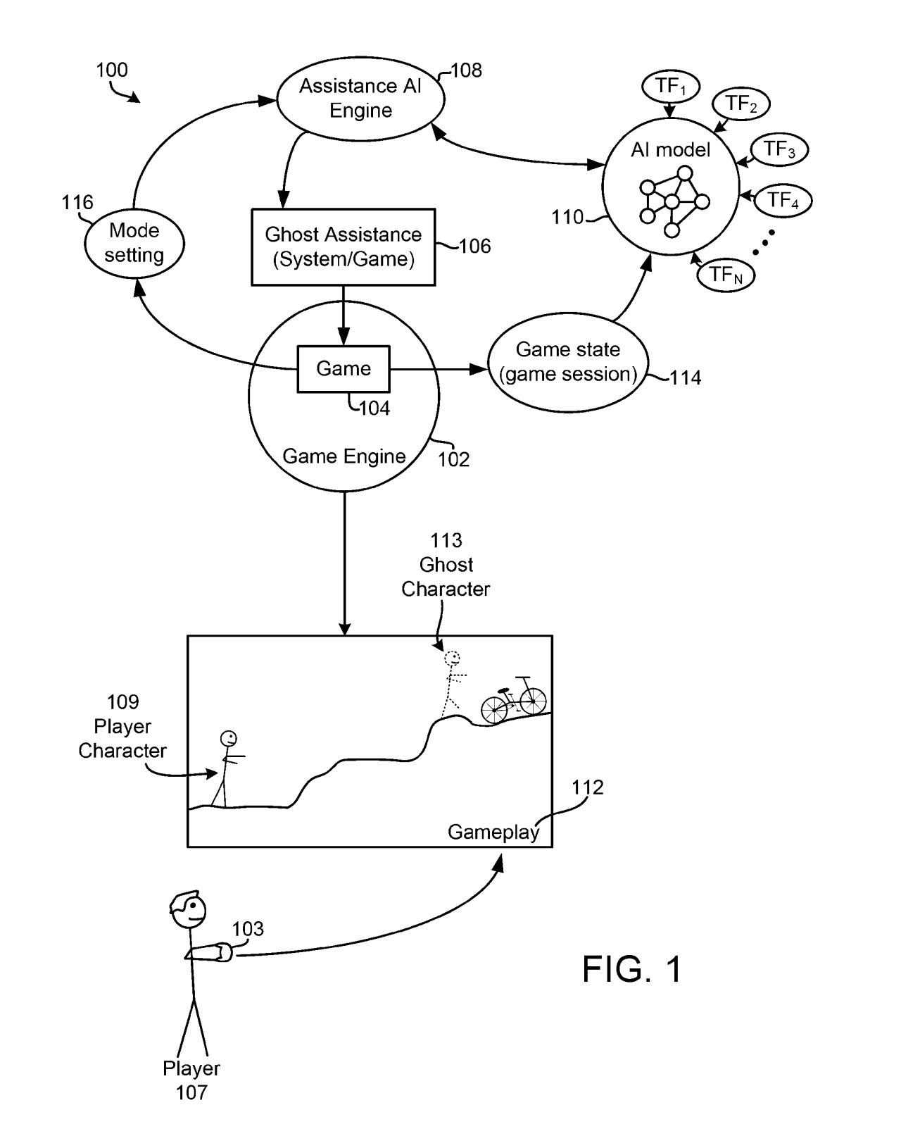
根据专利描述,该系统允许AI幽灵角色在玩家进行游戏时出现在PlayStation主机画面中,基于学习到的行为模式演示甚至直接完成游戏内操作。该系统将实时游戏会话与辅助AI引擎连接,当玩家启用幽灵辅助功能时,引擎会实时分析当前游戏状态并识别玩家面临的场景,随后生成幽灵角色的控制指令。该幽灵角色将在游戏世界中被渲染呈现,并沿着与玩家相同的交互路径执行情境化操作,这些操作并非通用回放,而是根据玩家当前状态动态生成。
![]()
AI引擎的训练数据来源广泛,包括用户生成内容、历史游戏记录、叙事过场、战斗片段、探索录像及其他游戏过程数据。通过从训练材料中提取情境特征,AI模型可学习各类场景的标准通关方式及所需操作指令。在实际游戏过程中,系统会将当前场景与学习数据进行比对,从而决定幽灵角色的行为模式。
![]()
专利核心特点在于可选择的"模式设置"。玩家可自定义AI幽灵的操控权限与功能侧重:在引导模式下,幽灵会演示移动路径、战斗技巧或解谜方案供玩家模仿;在代打模式下,幽灵可临时接管操作并代替玩家完成特定任务或关卡段落。其他风格模式还包括剧情导向流程、纯战斗指导、探索与物品发现路径,以及模拟标准通关的完整游戏模式。
专利同时描述了动态模式切换功能,允许在游戏过程中变更辅助等级或风格。切换可由玩家手动触发,也可由系统根据玩家行为、偏好或识别的难度自动执行。在某些情况下,幽灵角色可通过视觉提示、控制器输入演示、高亮物体或动画角色的语音提示提供指导。专利还提及该AI幽灵可作为游戏逻辑、系统软件或中间件的一部分运行,有望兼容早期或经典游戏作品。
更多游戏资讯请关注:电玩帮游戏资讯专区
电玩帮图文攻略 www.vgover.com
