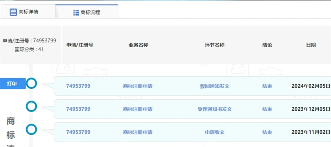
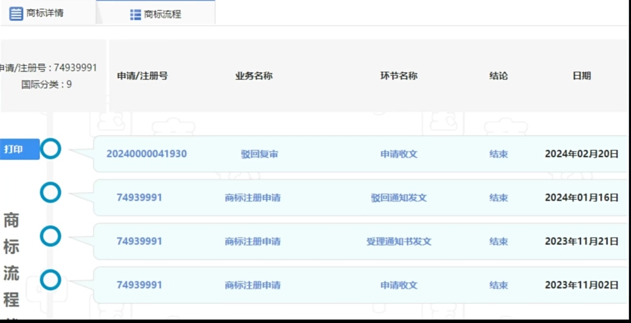
暴雪多個商標被駁回, 魔獸商標仍凍結
今天我們來看兩則消息。暴雪娛樂有限公司從去年開始就在在國內申請了數個魔獸世界商標, 包括《地心之戰》《THE WAR WITHIN》《至暗之夜》《MIDNIGHT》《THE LASTTITAN》等, 均爲未來資料片的名字,但都被國內駁回
![]()
![]()
![]()
分析(網友見解):商標申請被駁回這件事情本身其實沒有什麼大不了的,說實話這其實是一件很常見的事情,而且被駁回了也並不代表你不能用了
但是這件事情背後卻反映了一件或者說兩件比較不太好的消息,那就是:1、bz可能並沒有找到可以合作的單位;2、或者說bz找到了合作單位,但是這個單位在國內各個部門之間遊走運作的能力並不是很強。
所以才導致了我們看到的這個“被駁回”的結果
更多遊戲資訊請關註:電玩幫遊戲資訊專區
電玩幫圖文攻略 www.vgover.com
