最近,由於“使用率低”,谷歌方面已停止中國大陸的谷歌翻譯服務,讓剛從 Edge 過來的我有點意外,所以就來研究一下如何通過修改 Host 文件以重定向至大陸現有服務器來恢復谷歌瀏覽器的自帶翻譯功能。
![]()
首先,我們先訪問 Ping檢測 工具網站比如 https://ping.chinaz.com,選擇自己用的網絡運營商(我這裏是電信,然後在上方輸入 translate.google.cn,Ping 一下它。
![]()
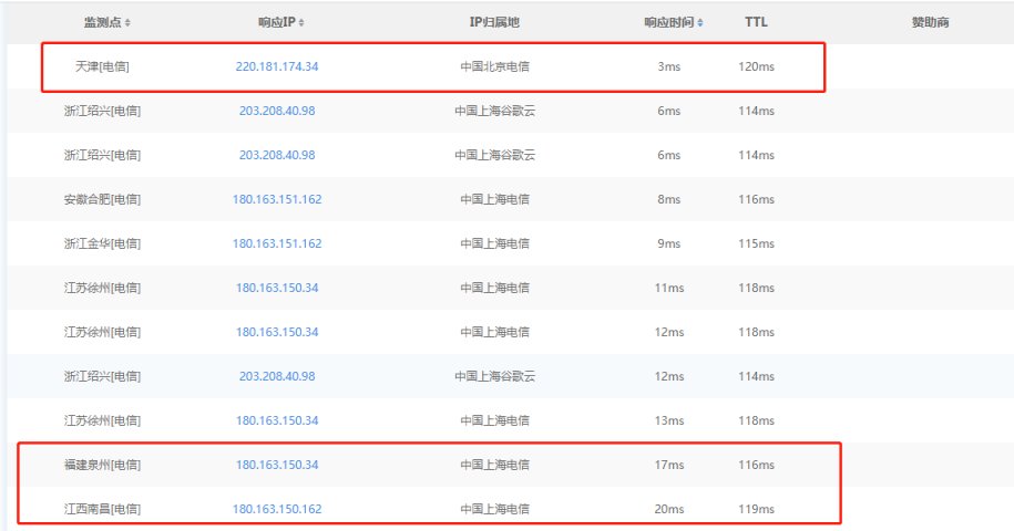
接着優先選中離我們近、響應時間短的響應IP,再到本地的命令提示符(CMD)Ping 一下看看通不通以及實際延遲。
![]()
![]()
這裏我之所以沒有選紙面延遲最低的 天津[電信] 以及最近的 廣東佛山[電信] 是因爲經過本地命令提示符的 Ping,它們的表現都不如相鄰省份江西和福建的兩個響應IP。
![]()
Ping一下
經過測試,我這裏將使用【180.163.150.34】這一響應IP。
然後定位本地路徑【C:\Windows\System32\drivers\etc】,把【hosts】文件複製到 C 盤以外的地方並備份一份。
![]()
![]()
再用記事本等文本編輯工具打開。
![]()
並把【180.163.150.34 translate.google.com】【180.163.150.34 translate.googleapis.com】(IP 和地址之間有一個空格)加到下方空白處,接着再把修改後的 hosts 文件拖回原地,命令提示符輸入【ipconfig /flushdns】清除 DNS 緩存後重啓瀏覽器就行了。這裏我之所以沒有輸入【translate.google.cn】是因爲【.cn】後綴的這個加入 hosts 後無效,需要輸入【.com】後綴的,如果你們輸入【.cn】後綴的地址無效可以換成【.com】後綴試試。
![]()
![]()
更多遊戲資訊請關註:電玩幫遊戲資訊專區
電玩幫圖文攻略 www.vgover.com

