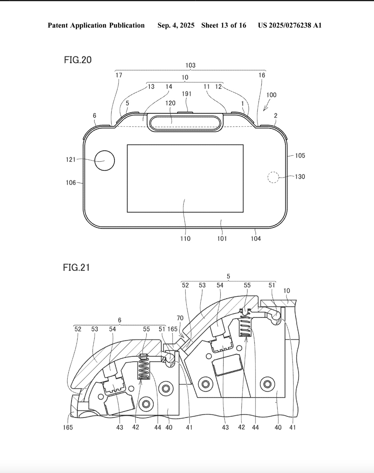
任天堂可能正计划为Switch 2推出适配NSO平台DS、3DS及Wii U游戏的双屏配件。9月4日公开的任天堂专利(经由X用户MikeOdysseyYT发现)显示,Switch 2或将配备可拆卸式双屏外设。该专利描述了一种模块化电子设备,通过将两个独立单元组合成完整系统。根据文件说明,其核心设计在于两组设备可根据使用需求进行自由拼装。
![]()
![]()
首组设备正面配备显示屏与连接接口,次组设备除正面屏幕外,背面另设连接端口。创新之处在于连接方式——次设备能以多种方向与主设备对接。其中一种组合模式下,次设备背面可覆盖主设备屏幕,形成叠合状态。
![]()
![]()
这意味着任天堂正在探索通过设备排列改变系统功能形态的双屏方案。根据组合方式,玩家可灵活切换单/双屏模式。如前所述,此类配件或将完美适配NSO平台的DS、3DS及Wii U游戏掌机阵容。
![]()
![]()
Wii U的平板控制器曾通过独立屏幕实现与主显示器的双屏联动。虽然该特性被多款第一方游戏采用,但由于主机市场表现不佳,第三方支持有限。典型应用场景包括在掌上屏显示菜单/地图,同时主屏运行游戏画面。
更多游戏资讯请关注:电玩帮游戏资讯专区
电玩帮图文攻略 www.vgover.com
