6 月 9 日,余承东在微博发布的一段华为 Pura 80 系列预热视频引发极大震动。
视频中,一段大光比场景下的火焰实拍画面让很多被华为影像的超强实力颠覆的粉丝们再次大喊惊喜。
![]()
![]()
要知道,拍摄火焰一直是手机影像的“地狱级挑战”。跳动的强光极易过曝成一片惨白,暗部环境又往往沦为漆黑剪影,而华为Pura 80系列却让这场光与暗的博弈呈现出电影级的质感,以“高亮不过曝、暗部有细节”的极致表现,精准还原了火焰的层次。
![]()
而余承东在视频结尾留下的那句“远远不止”,如同掀开了冰山一角,让外界对华为Pura 80系列的影像黑科技充满遐想。
大光比场景下的“超视觉”革命:华为 Pura 80 系列如何突破物理极限?
从预热视频的表现来看,华为 Pura 80 系列的核心突破在于动态范围的跨越式提升。在传统手机视频拍摄中,大光比场景往往是“高光死白、暗部死黑”的重灾区,但Pura 80系列却通过硬件级革新,实现了主摄视频拍摄质的飞跃。
据爆料,华为 Pura 80 系列将全球首发国产一英寸镜皇,这颗传感器采用华为祖传的 RYYB滤光阵列,进光量较传统RGGB提升40%,堪称“手机中的夜视仪”。在典型的大光比场景(如逆光、夜景、强光直射下的室内外场景等)中,低动态范围的传感器就容易出现亮部过曝丢失细节,或者暗部欠曝一片漆黑的情况。而高动态范围能让亮部不过曝,暗部不欠曝,比如拍摄夕阳下的风景,既可以清晰呈现太阳周边云彩的层次,也能保留地面景物的细节。
不仅高动态效果优秀表现,我们猜测配合红枫原色镜头,华为Pura 80系列的色彩表演即使在弱光环境下,也能精准还原色彩,避免偏色问题。视频中,火焰的颜色被精准还原,没有过深、过淡以及过渡渲染的情况出现。
“远远不止”背后的悬念:华为 Pura 80 系列还藏着哪些颠覆性创新?
余承东在视频中强调的“远远不止”,显然暗示着华为 Pura 80 系列在影像领域的突破绝非仅限于动态范围的提升。结合近期曝光的专利与行业爆料,我们可以大胆猜想一下。
一底双长焦:打破空间限制的“透视眼”
![]()
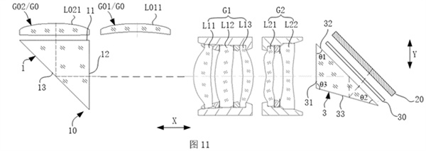
6 月 6 日公布的一项“一底双长焦”专利(即两个长焦镜头共用一个影像传感器),揭示了华为 Pura 80 系列长焦系统的全新形态。通过导台移动实现长焦和超长焦之间的光路切换,有效缩小模组体积,同时两颗长焦镜头共用CMOS大底和Sensor防抖技术,保证长焦双焦段成像质量,实现双长焦影像效果天花板。
另外,专利显示,光线在传播时经过两次反射到达CMOS大底,可以有效延长光路。大底Sensor斜置于棱镜上方,充分利用棱镜顶部空间,降低模组尺寸。后置多折棱镜(多折摄)+Sensor斜置也是业界首次商用的手机影像模组设计方案。
CMOS斜置设计:体积更小 防抖更优秀
![]()
![]()
而在6月3日公布的一项专利与影像CMOS斜置结构相关。一般来说,为了更好的长焦拍摄效果,都会采用大底Sensor,但如果采用通用的直立放置,搭载OIS功能,模组肩高会显著增加,因此将传感器斜置,相同尺寸的传感器,相比于直立放置能够有效降低模组的肩高,还能充分利用立体空间,将传感器及OIS模块放置在三角棱镜的顶部区域,进一步减少模组体积。
这两个创新都可能在全新的华为Pura 80系列上使用,极大概率应用在长焦摄像头上。综合以上,我们猜测,华为Pura 80系列或拥有史上最强长焦,同时保证影像模组体积更小,让整体机身较薄。首先,一底双长焦优势在于,长焦画质更好,双长焦都可以使用同一个大底传感器。同时,焦段更加完整,双长焦可以实现中长焦和超长焦两个光学焦段。而CMOS斜置设计可以有更大传感器移动空间保证防抖设计,带来优异的防抖性能。
总结:行业难以复刻 移动影像王者归来
![]()
值得一提的是,OPPO高管曾在微博点评该长焦方案,并表示其模组非常非常贵,应该打破了目前长焦单一模组成本记录了。由此可见,华为Pura 80的影像设计方案不仅技术水平高、工艺难度大,而且行业难以复刻。
上一代华为Pura 70系列出货量突破 1300 万台,创下国产高端旗舰的销量纪录。这一成绩不仅源于其影像实力,更得益于华为在用户体验上的持续深耕。而华为 Pura 80 系列在继承前代优势的基础上,将通过“一英寸大底 + 一底双长焦 + 红枫原色”的组合拳,进一步巩固了其移动影像标杆的地位。6月11日的华为Pura 80系列发布会,或将成为移动影像史上的又一个里程碑。
更多游戏资讯请关注:电玩帮游戏资讯专区
电玩帮图文攻略 www.vgover.com
