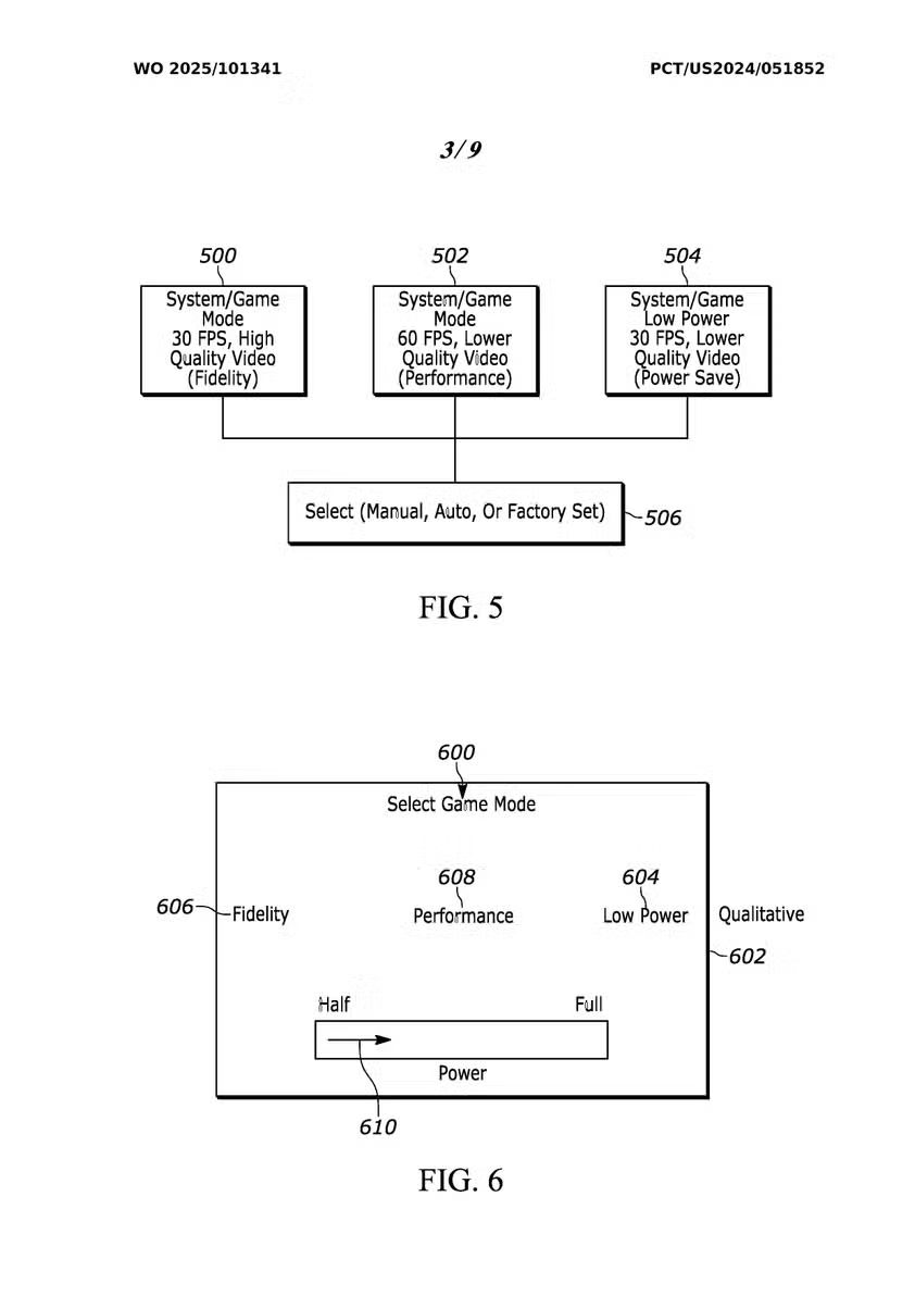
最近公開的一項索尼專利暗示,PlayStation 6 或將內置“低功耗模式”,能夠根據需求自動調整主機的幀率和分辨率,以在不同場景下優化能耗和性能。這項專利最早於2024年10月提交,2025年5月15日正式公佈,表明索尼正在針對下一代主機研究智能功耗管理方案。媒體Game Rant 也評論稱,該專利或爲 PS6 的重要功能之一,並特別指出“低功耗模式”將幫助延長使用壽命和減少發熱。
![]()
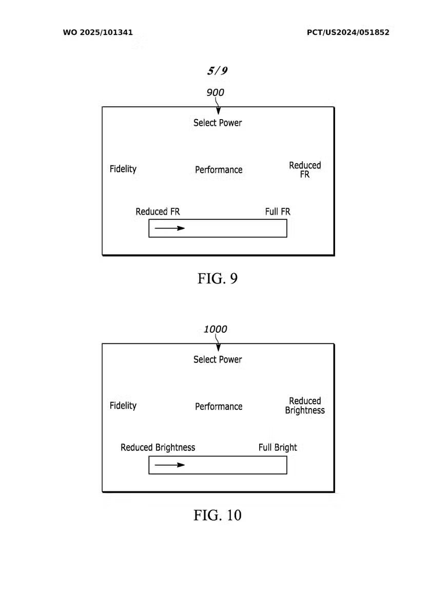
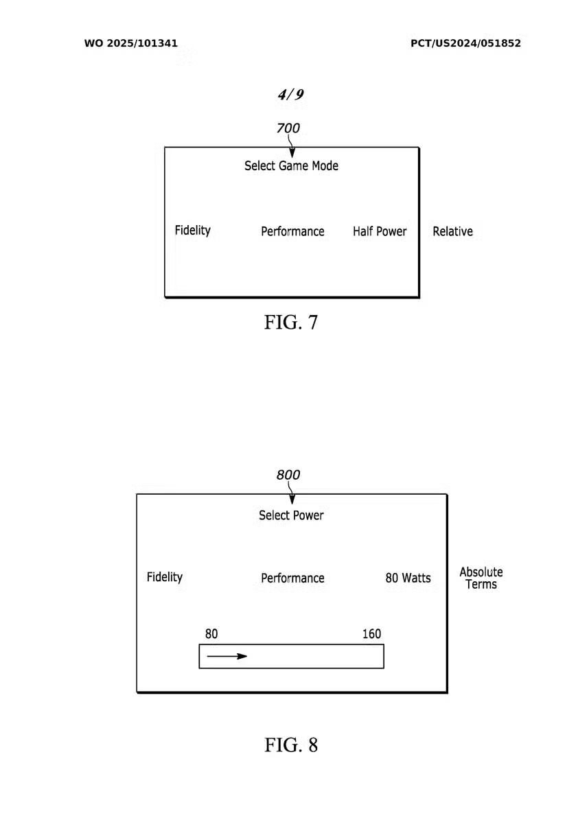
根據專利摘要,該硬件系統包括一個低功耗狀態控制電路,能夠在實時監測系統負載和散熱情況後,動態切換到包括“低功耗模式”在內的多種功耗檔位。進入低功耗模式時,主機會自動降低某些性能指標,例如:
1. 幀率下調:根據當前遊戲場景需求,將幀率鎖定在較低水平。
2. 分辨率適配:在降低分辨率的同時保持畫面可讀性,減少 GPU 負擔。
此模式類似於移動終端或嵌入式設備的休眠/喚醒機制,通過電路級的重置信號控制模塊進入和退出低功耗狀態,從而進一步降低待機及輕度使用時的整體能耗。
![]()
![]()
![]()
![]()
![]()
靜默運行:在播放影片、音樂或後臺下載時啓動低功耗模式,保證足夠流暢的體驗同時節省電力。
節能待機:主機在等待用戶喚醒時,能將能耗降至極低水平,類似於智能手機的深度睡眠狀態。
Xbox Series X/S 及部分 PC 平臺已有類似的功耗動態管理方案,但多集中在軟件層面;索尼此次專利強調硬件級控制,切換速度更快、切換開銷更小。
更多遊戲資訊請關註:電玩幫遊戲資訊專區
電玩幫圖文攻略 www.vgover.com
