本月八日(11月8日),《幻兽帕鲁》开发商Pocketpair发布了《有关专利权诉讼事件的通告》,通告中谈到了三项专利,让我们看看这些专利的画面内容吧!
通告回顾
Nov.8.2024
有关专利权诉讼事件的通告
如2024年9月19日本公司发布的通告所述,株式会社宝可梦与任天堂株式会社(以下称"原告")向我们提起了专利权诉讼。此后,就此事收到了来自各方媒体的问询。因此,现就本次诉讼内容与目前情况向进行通告。
1. 诉讼内容
原告称本公司于2024年1月19日发布的游戏《Palworld / 幻兽帕鲁》侵犯了其持有的下述三项专利,要求下架本游戏,并对对象专利完成注册日期起至诉讼提起日期为止所发生的部分损失进行赔偿。
2. 对象专利
・专利号7545191 (P7545191),专利提交申请日期:2024年7月30日,完成注册日期:2024年8月27日
・专利号7493117 (P7493117),专利提交申请日期:2024年2月26日,完成注册日期:2024年5月22日
・专利号7528390 (P7528390),专利提交申请日期:2024年3月5日,完成注册日期:2024年7月26日
3. 诉求概要
・下架《Palworld / 幻兽帕鲁》
・支付株式会社宝可梦500万日元及逾期付款损失
・支付任天堂株式会社500万日元及逾期付款损失
关于本次专利权诉讼,今后本公司将通过进一步的诉讼程序进行应对,坚持我们的立场。
在此过程中,暂不回复本事件相关的个别问询,还望谅解。
如有需要告知的事项,今后会随时发布在官方网站。
其中,在第2点中,有三个专利号,7545191 (P7545191)、7493117 (P7493117)和7528390 (P7528390)。
2. 对象专利
・专利号7545191 (P7545191),专利提交申请日期:2024年7月30日,完成注册日期:2024年8月27日
・专利号7493117 (P7493117),专利提交申请日期:2024年2月26日,完成注册日期:2024年5月22日
・专利号7528390 (P7528390),专利提交申请日期:2024年3月5日,完成注册日期:2024年7月26日
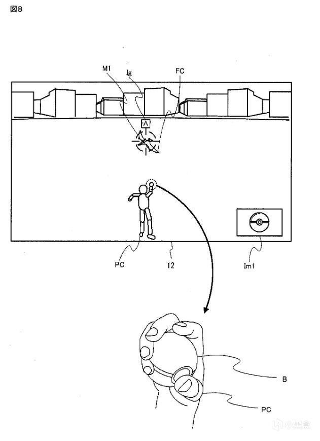
7545191 (P7545191)、7493117 (P7493117)
以下图示仅为部分参考。
特許・実用新案文献表示
![]()
2021年提交 2023年审批通过 2024年修改
画面
![]()
![]()
![]()
![]()
![]()
![]()
![]()
![]()
![]()
![]()
![]()
![]()
![]()
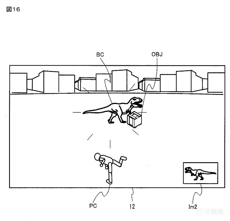
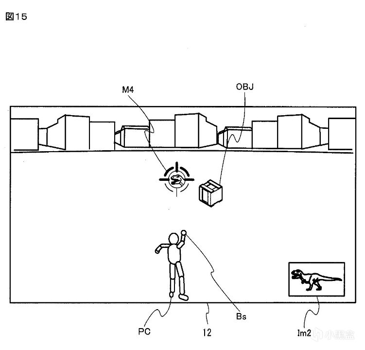
7528390 (P7528390)
経過情報表示
![]()
2021年提交 2023年审批通过 2024年修改
画面
![]()
![]()
![]()
![]()
![]()
![]()
![]()
![]()
![]()
![]()
![]()

更多游戏资讯请关注:电玩帮游戏资讯专区
电玩帮图文攻略 www.vgover.com
